Verschiebbares Gitter
Verschiebbares Lineal
Verschiebbares Lineal
AT3800-PO-61086
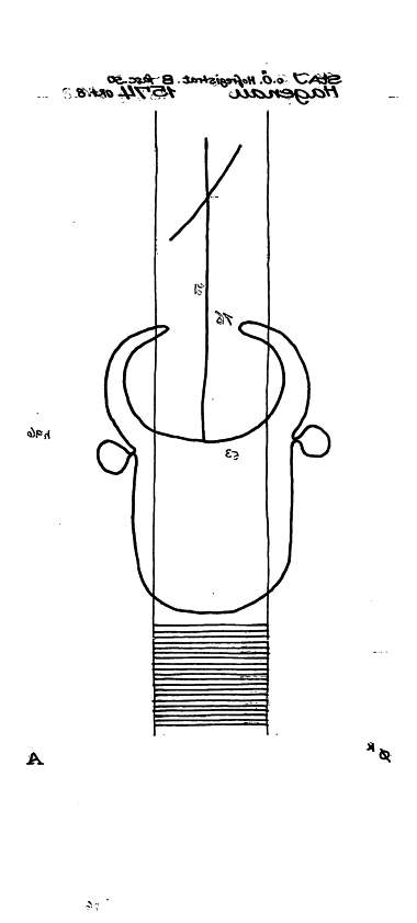
Wasserzeichen-Informationssystem - Detailansicht
ReferenznummerAT3800-PO-61086  <Permalink>
MotivgruppeFauna - Ochsenkopf - frei, mit Oberzeichen - mit einkonturiger Stange - Kreuz (einkonturig) - ohne weiteres Beizeichen - Kreuzbalken schräg - ohne Gesichtsmerkmale - Kinn rund
QuelleÖsterreich, Innsbruck, Tiroler Landesarchiv, Innsbruck, o. Ö. Hofregistratur B fasc. 50
1574, Hagenau
A
SammlungPiccard-Online
Abmessungen|| 26 mm, Breite 55 mm, Höhe 111 mm

Gitter ein- und ausblenden   Spiegeln aufheben   Bild und Text drucken    Maßstabgetreues Abbild

Helligkeit